
Наши учёные показали несколько изобретений на выставке «Иннова-2017» в Барселоне. Саров.Net полистал любопытные патенты на невесомые кирпичи, прокачанную пушку и шприц-измеритель.
Международная выставка инноваций, научных исследований и новых технологий завершилась 7 мая. Все четыре группы специалистов из ЗАТО, приехавших на ежегодное мероприятие, работают во ВНИИЭФ. В число хайтек-проектов вошли портативный радиометр-спектрометр, двухкаскадная баллистическая установка, датчик электрического сопротивления порошка и производство так называемого «легкого бетона».
Неизвестно, были ли на «Иннове» показаны работающие прототипы или лишь стенды с чертежами. Тем не менее, некоторые из разработок можно найти в открытом доступе. К примеру, баллистики придумали, как добавить скорости снаряду прямо в стволе испытательной установки. Двойной заряд получается мощнее, а эксперимент — дешевле, рассказали авторы патента 2013 года, для этого достаточно разместить ВВ
коаксиально — на одной оси, а вторую часть пороха поместить в «матрёшку» с боевой частью.
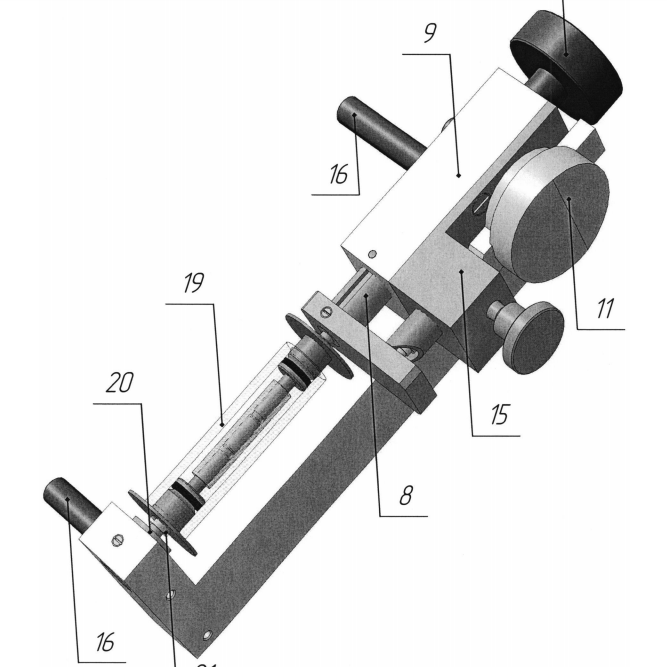
В том же 2013 году был опубликован и чертёж устройства для изучения порошка: семеро внииэфовцев научились пропускать ток через аддитивные материалы — порошки, сжимаемые в стеклянном мини-прессе (на фото), и тем самым получать его свойства. Из патента неясно, какие материалы могут изучаться в колбе с поршнем, но из металлических порошков сейчас печатают даже режущие инструменты.
Ручной спектрометр
получил медаль на выставке в Китае полгода назад.
Облегчённый бетон на треть состоит из небезызвестных зольных микросфер. Исследование помогает производить легкие теплоизоляционные и конструкционные бетонные изделия, и, в отличие от популярного газобетона, такой материал не поглощает воду и не ломается пополам. Работы по микросферам — по сути, отходам электростанций, — начались в РФЯЦ ещё в начале 90-х годов. В прошлом десятилетии стало известно о «
Сферобетоне».
Прокомментировать